Source: http://www.electrotherapymuseum.com/
Uploaded here under FAIR USE provisions of the international copyright laws for education, review, commentary & discussion
About Violet Ray Machines

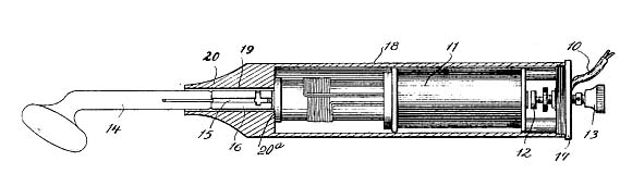
Master Violet Ray, from Mueller Patent From left to right:
Vacuum Electrode, Resonator Coil, Magnet Coil / Condenser, Interrupter, Line Cord
Well, what is a violet ray machine? The basic Violet Ray machine is a portable form of Tesla Coil. It is based on some of the early coils Tesla built in his Houston Street Laboratory.
These devices started off legitimately as medical devices for treating various skin conditions and for the minor relief of pain. They were made originally for physicians to take to patients homes where portability and convenience were a must. An added bonus for these machines is the unique ability to operate on both alternating and direct currents – even if patient’s homes did not have electricity, these small devices could run from portable battery banks. Prior to this most high frequency devices were large and cumbersome, and available electricity was rare. It also may be of interest to note that in the early days if people were lucky enough to have electricity in their homes, the extent to which this existed was most often a single lamp socket hanging from the ceiling of the main room in the house. Wall switches and outlets were still in the distant future! This is why so many Violet Ray manuals mention things such as “conveniently plugs into any lamp socket”. At the time, lamp sockets were the only form of outlet! Early portable apparatus were made by Remco, Frank S Betz, Browne, Victor, Fischer, Aloe, Wappler, Etc. Most of the early devices were lined in oak boxes and contained coils that produced sparks up to 3″ or more. Some units were even sold with special X-Ray tubes for doing mild treatments at peoples homes.
The violet ray business, became a major US industry, from 1900 until the 1930s over three dozen manufacturers made these units. Some manufacturers made up to a dozen models, and production ran into the tens of thousands, hundreds of thousands for some companies!
Eventually the cure-all claims were put to trial and most of the devices were banned by the FDA for illegitimate claims. Cenco and Electro-Technic Products began marketing the devices as high frequency leak detectors for neon sign and related industries. They are still manufactured for this today. Several other companies, such as Fromm International, Siluoet-Tone, Holo-Electron, and Tefra make the devices for beauticians or aethetician
use.
In recent decades many people began distributing devices from the above companies as adult novelties or alternative medical devices. It should be noted that here in the US the only legitimate manufacturers of these devices are Electro-Technic Products (Leak Detectors) and Fromm International (Aesthetician Products). ETP makes modern versions of the Cesco / Energex / Challenger / Cenco variety of Violet Rays, and Fromm makes the Master Electric M66 / Master Appliance / Gibbs variety of Violet Rays. Neither manufacturer makes or endorses the use of the machines as “Violet Rays”, or “Violet Wands”.
In Europe, there are still several manufacturers of “Violet Rays”. Holo Electron in France, and Tefra in Germany. Many of the hard to find electrodes are still sold by these companies.
One of the common misconceptions about Violet Rays is the actual disruptive discharge coil in the top of the unit, the coil that makes connection with the glass electrodes. Many newer internet resources make mention of “wax cores” used in these coils. One company even boasts the use of ceramic cores(!) This information is false. Violet Ray resonator coils are wound on wooden or plastic cores; they contain multiple layers of wire insulated by paper which is impregnated with insulating material. It is the overheating of this insulating material between layers that causes these coils to fail. Below is a cross section of both a Master (Fromm) and a Cesco (ETP) Resonator Coil.

Cross-Section of Resonator Coil for ETP industrial leak detector powered by a Kicking Coil arrangement. This File is Property of Jeff Behary, c/o
The Turn Of The Century Electrotherapy Museum
You can clearly see the different layers of wire, and the waxed paper used for insulation. The secondary coil is close wound layers with wire .006″ in diameter, while the primary is a single layer wound with .012″ diameter wire. Some manufacturers used two wires wound side-by-side for the primary winding to increase the coupling of the coils. Modern coils can be impregnated with high temperature epoxy rather than wax, making a coil that will withstand extended use. Unfortunately, the other components of the Violet Ray (such as the condenser or magnet coil) also tend to overheat when operated for more than 10 minutes – defeating the purpose of a heavy-duty coil.
Whether or not you believe in the authenticity of the treatments, most “treatments” lasted no longer than 10 minutes, and if the machine is allowed a 20-30 minute period of “cooling off” between treatments it will last a lifetime. Violet ray machines are often more expensive to repair than they are worth, so it’s best just to take good care of them and
they will last indefinitely.
Another misconception is that Violet Rays contain transformers and spark gaps. They actually contain a “self-induction coil” and “interrupter”. The self-induction “magnet coil” is really a single layer of wire that magnetizes an iron core. Whenever the core is magnetized, the bottom contact of the interrupter (which is attached to a steel armature) is attracted to the core of the coil, thus breaking the contact of the interruption. At this point the collapsing magnetism in the core of the coil induces a high voltage back-emf in its winding of around 1-2 kV. This high voltage is used to charge a condenser and discharge it across the disruptive discharge “resonator coil”. The combination of inductance and capacity form a high frequency resonant circuit, and it is through resonance that a small coil operating from a 110V source can yield an output of over 50,000V with very little wire.
Finally, the actual glass vacuum electrodes generally do NOT contain inert or noble gases as many people claim. The color and effects of the discharge are created from normal air at various degrees of vacuum. While sparks in normal air are purple, these sparks spread from red, violet, blue, lavender, and white as the vacuum inside of the tube increases:

Some manufacturers did use Neon in their electrodes, but this was mainly limited to European devices from the 1930s and later. Most American devices used simply normal air at various degrees of vacuum. The photos above are of the same glass tube, however the vacuum is steadily increasing from left to right. If the white vacuum on the far right was evacuated even more, the various discharges of Crookes and Röntgen would start to appear.
One of the last misconceptions about Violet Rays is that they emit ultraviolet radiation. This is also false. Quartz Glass is the only glass that can transmit Ultraviolet Radiation, and most Violet Ray electrodes are made from Pyrex or Soda Lime Glass. The only Ultraviolet Radiation emitted from these machines is from the actual sparks generated from them. All electric sparks produce Ultraviolet Radiation to some extent. The only effect of the gas, pressure, or vacuum inside of glass the electrodes is the actual resistance of the vacuum electrode and the this effects the characteristics of the electricity conducted through them. As the old manuals boast, “the electrodes diffuse the electricity”. In other words, they remove the harshness associated with a direct electrical spark to the body.
So who invented these electrodes? Frederick Finch Strong invented the glass vacuum electrode around 1896. This concept was perfected by people such as Arnold Snow. Many physicians adopted their own form of electrodes, and books from authors such as Eberhart or Tousey depict some of these images.
So what are the authentic use of Violet Ray machines? Mainly (as the original units) for treating minor skin conditions. Ozone is germicidal (kills bacteria) and high frequency currents are dehydrating for the skin. Acne or similar conditions are often improved by the nature of these applications. Also, fulguration or cold cautery is used with these devices – the ability of a small electric spark to destroy tissue. This is one method of removing warts.
The mild heating effects of these devices (which are minute compared to Diathermy) has the ability of relieving pain to a small extent. Unlike external heating pads, Violet Ray electrode heat the body from the inside-out, which is often more beneficial.
On the subject of applications of these currents, it should be noted that treatments rarely consist of electrical sparks being applied to the skin. This can cause unpleasant burns. Whenever early books mention “a quarter inch spark” or “a half inch spark” for various ailments, it is meant that the machine be adjusted to produce such a spark, and the glass electrode applied directly to the body thereafter.
No person with a pacemaker should be allowed near a Violet Ray machine, the effects could be fatal [This is no longer true for all pacemakers, consult with your physician!]. Violet Ray devices can and will interfere with nearby electronics.
